INVENTIONS: SINGLE-POST SEWING FRAME
To assemble follow diagram.
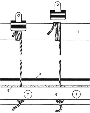
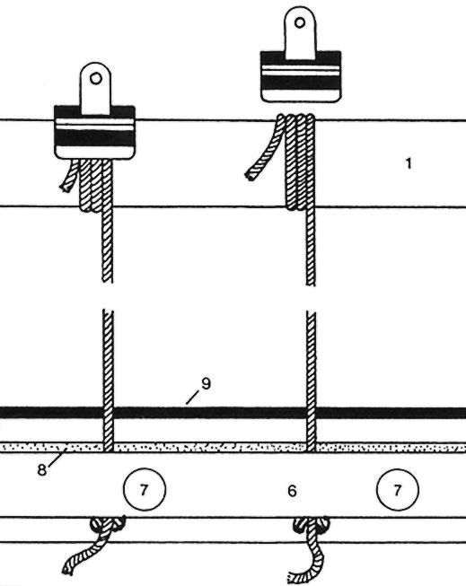
Note: Sliding-bar (1) is set at a l° angle from the horizontal to compensate for flexing when under tension.
This principle may be adapted by the post and grip bar being fittled to the edge of a bench.
|
Single-Post Sewing Frame
|
|
Sewing Cords
|
|
Sewing Tapes
|
|
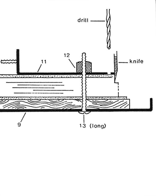
Ploughing Jig
|
|
Trimming & Drilling Jig
|





